Trancept Systems TAAC-1 - The first board-level GPGPU product

Video - June 1987 TAAC demo (no sound)
Video Part 1, Part 2 - August 1987 TAAC demo
Video Part 1, Part 2, Part 3, Part 4 - 1989 TAAC demo
Video - 1989 TAAC Volume Rendering Movies
Video - 1990 TAAC and VX/MVX Volume Rendering Movies
Video Part 1, Part 2 - September 1990 VX and MVX demo reel

      Trancept Systems Inc. was founded in January 1986 by Tim Van Hook, Mary Whitton, and Nick England. Our goal was to develop a flexible, user-programmable, high performance graphics and imaging accelerator for computer workstations. 

In the Spring of 1987 we introduced the TAAC-1 (Trancept Application Accelerator) product for Sun Microsystems workstations. The TAAC-1 consisted of two sandwiched PC boards, one full of video RAM, the other full of a micro-programmed wide-instruction-word (200 bits) processor optimized for graphics and imaging operations. The TAAC-1 was plugged into and memory mapped onto the Sun's VME bus. The TAAC-1 was probably the world's first board-level GPGPU product. Tim Van Hook was the chief architect and hardware designer and also wrote a ray tracer and lots of other software for the processor. Paul Ramsey created the C compiler and other tools that we used for creating TAAC programs.

We had a brief but exciting life as a start-up company, developing the hardware and demo software during 1986, introducing the product at the NCGA conference in Spring 1987, and selling ourselves to Sun Microsystems in May 1987. At the time, Trancept consisted of the original trio plus 7 other talented (and brave) souls who'd joined our start-up effort.

The TAAC-1 continued to be marketed by Sun for several years and I'd guess almost 400 TAACs were sold. Sun's North Carolina group went on to develop the SunVision visualization toolkit, the VX/MVX accelerator, and various video capture and compression boards before Sun pulled the plug in 1994.

There were lots of great people who were part of Trancept and Sun's North Carolina group and we had lots of great (and patient) customers. Thanks for the wonderful experience!


2023 news - Trancept/Sun goes to SIGGRAPH! Well, some circuit boards and videos did. The 50th SIGGRAPH conference was held in Los Angeles Aug 5-11 and we displayed TAAC and VX/MVX boards in the History Exhibit area. The demo videos listed above were shown on a rotating basis with many more historic computer graphics videos.
trancept-sig23-50456321.JPG (2870973 bytes)

Paul Ramsey and the display 

trancept-sig23-IMG_3126.jpg (4672875 bytes)

TAAC-1 display memory board (POP)
TAAC-1 processor board (DFB)

trancept-sig23-IMG_3128.jpg (5277133 bytes)

VX processor and display board
MVX - four processor board

trancept-sig23-IMG_3129.jpg (5533744 bytes)

Literature & Memorabilia

1987 - download pdf of this brochure

taac-br-1.JPG (221651 bytes) taac-br-2.JPG (342064 bytes) taac-br-3.JPG (396836 bytes) taac-br-4.JPG (335235 bytes)
taac-br-5.JPG (331473 bytes) taac-br-6.JPG (109575 bytes) taac-br-7.JPG (46891 bytes) More stuff later

Sun's North Carolina development group - 1990?
(Where's Tim? In Mountain View probably)

sun-nc-01.JPG (654068 bytes)


TAAC-1 Application Accelerator

For a summary of the system, see the TAAC-1 Technical Notes and for details, see the TAAC-1 User's Guide

I wrote an overview article for the Winter 1988 issue of Sun Technology Magazine.
Mary Whitton wrote overview papers for NCGA '87 and NCGA '89
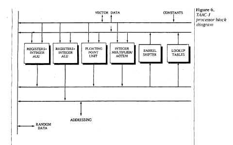
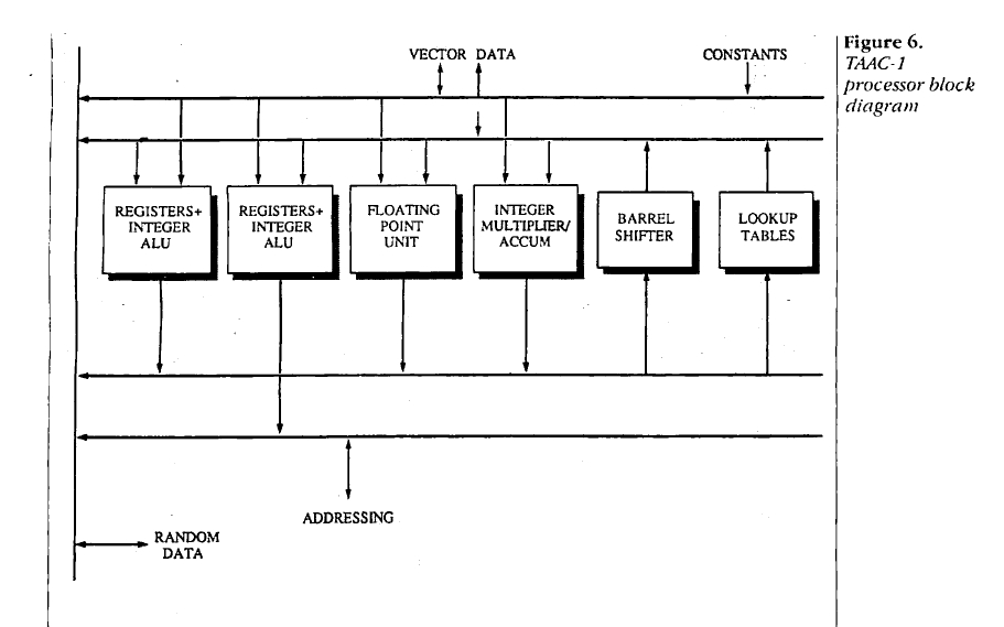
architecture - dual-ported memory plus multi-function processor with separate instruction memory
taac-block.JPG (72062 bytes)
multi-function processor with parallel integer and floating point units. Processor and Memory Access Controller were controlled by 200-bit wide instructions.
taac-proc.JPG (116476 bytes)
dual-ported memory using VRAM - one random access port and one vector data port for processor or video output
taac-mem.jpg (65669 bytes)
video output - TAAC video is displayed in a window of the standard Sun workstation frame buffer
taac-vid.jpg (200818 bytes)

Results (from 1987 probably)


Lots of interesting and innovative code for the TAAC-1 processor got developed by Tim Van Hook and other sharp Trancept and Sun folks, including:

We provided customers with a C language microcode compiler and were strongly encouraged (!) to develop their own code. They came up with all sorts of interesting and imaginative ways to use the TAAC-1.
taac-101.JPG (119324 bytes)
ray racing with texture & environment mapping on TAAC-1
taac-107.JPG (140081 bytes)
Ray tracing on TAAC-1 with varying index of refraction
taac-102.JPG (152949 bytes)
Ray tracing on TAAC-1 with internal illumination
taac-106.JPG (115697 bytes)
Ray tracing on TAAC-1 with internal illumination
taac-103.JPG (93955 bytes)
Volume rendering on TAAC-1
taac-104.JPG (150202 bytes)
Image processing library on TAAC-1
taac-105.JPG (157714 bytes)
3D Point cloud display (digital terrain model) on TAAC-1
Much more to come

NEW - 1987 TAAC demo on YouTube - part 1

 
Jack Billman's memorial tree - 09/13/14
billman-tree-1409.JPG (2891045 bytes)
 
Back to Nick's Personal Home Page - Nick England
Last modified:  14 Aug 2023